Apple Pencil může v budoucnu rozpoznávat barvy pomocí speciálního senzoru
Apple Pencil je dostatečně chytrá tužka, která vám může velmi usnadnit práci. Nyní se podle patentové přihlášky zdá, že Apple hodná chytré příslušenství naučit ještě více.
Společnost Apple zkoumá novou technologii pro Apple Pencil, která by mohla umožnit zařízení odebírat vzorky ze skutečného světa k použití v digitálním umění, kresbách, úpravách a dalších oblastech. Podle patentové přihlášky zveřejněné tento týden úřadem Spojených států pro patenty a ochranné známky.
Apple Pencil se senzorem barev
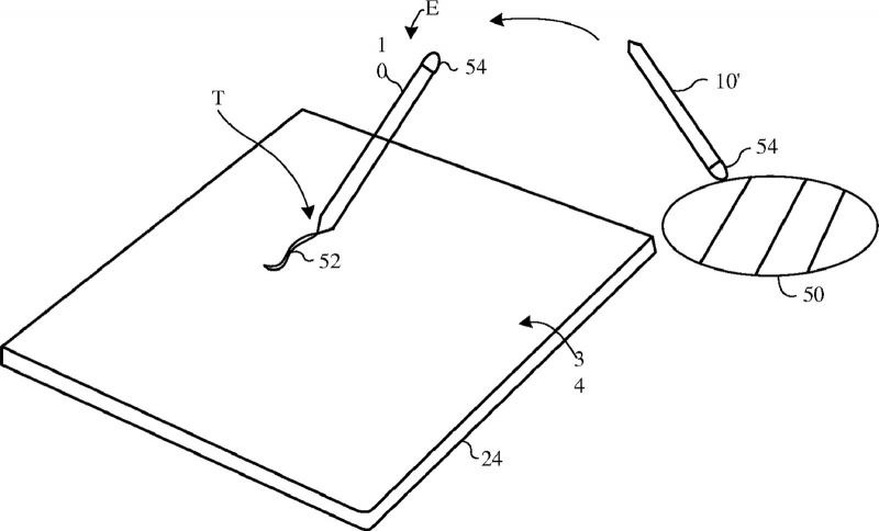
Patent s názvem „Počítačový systém se stylusem pro vzorkování barev“ popisuje stylus, který může mít barevný senzor. Ten by byl vybaven několika fotodetektory, které jsou schopny měřit světlo pro různé barevné kanály, což by umožnilo detekovat a vzorkovat barvu ze skutečného světa objektu, jako je například květina.
Stylus může být také vybaven světlem, které usnadní fotodetektorům přesné určení barvy, a zbytek patentu popisuje design typu Apple Pencil s protáhlým tělem, špičkou a protilehlým koncem, který je schopný pracovat s dotykovým displejem. Apple říká, že barevný senzor může být umístěn na konci tužky, na špičce nebo připojen ke špičce.
Při použití této technologie by uživatelé chytré tužky mohli přidržet stylus proti objektu ve skutečném světě a příslušenství by barvu odezřelo. Mohlo by se tak použít pro fotorealistické malby nebo jen pro vzorkování jedinečných barev z trávy, rostlin, stávajícího umění a mnohem více. Zatím není jasné, jak by byl senzor použitelný v případě, že by se nasadil obal na Apple Pencil.
Patent popisuje přesnou funkci
Podle patentu by stylus detekoval barvu a pak ji dal do palety barev ve výkresovém programu, kde by barva mohla být přiřazena ke štětci. Apple také navrhuje, že barevný senzor by mohl být použit pro jiné účely, jako jsou kalibrační displeje, kalibrace tiskáren, měření související se zdravím a identifikace barev pro domácí projekty, díky nimž by se digitální tužka stala ještě všestrannější.
Optické barevné senzory, jako je tento, již existují a byly použity různými způsoby. Apple patentuje všechny druhy různých technologií, z nichž některé se zdají být proveditelné a jiné docela utopické. Neexistuje žádná záruka, že patenty Applu budou použity na skutečné produkty, a ve skutečnosti je většina patentů na technologie, které se nikdy neuvolní.
Zdroj: Macrumors
.png)
