Digitální korunka Apple Watch může v budoucnu dostat další funkce. Patent ukazuje, jak se dá využít jako joystick. Šlo by ji tak používat jako směrový ovladač.
Digitální hodinky Apple Watch by mohly být v budoucnu flexibilnější, protože Apple přišel s možností, jak proměnit digitální korunku v jednoduchý joystick, takže půjde pohybovat korunkou i do stran.
Apple Watch nabízí uživatelům řadu různých způsobů interakce, včetně hlasového ovládání, dotykové obrazovky, bočního tlačítka a digitální korunky. Ta je již víceúčelovým ovládacím prvkem, s nímž lze klikat, otáčet a použít jako kontaktní bod pro odečty EKG. Apple si ale myslí, že by se mohla dále vylepšovat.
Digitální korunka Apple Watch na více použití
V patentu, který udělil americký Úřad pro patenty a ochranné známky s názvem „Capacitive gap sensor ring for an electronic watch“, Apple navrhuje, aby se digitální korunka mohla změnit na formu joysticku nebo směrového ovladače.
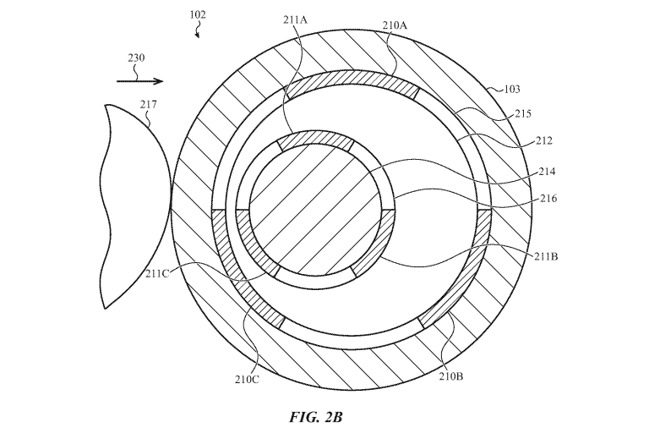
Digitální korunka by mohla být vytvořena z víčka nebo hřídele, kterým lze pohybovat několika směry. Toto je pak pokryto výběrem kapacitních prvků přes dva povrchy, kde jeden se otáčí a pohybuje se uvnitř druhého, jako je hřídel uvnitř objímky nebo prstence.
Detekcí změn pro každý z kapacitních prvků, přesně tam, kde se prvky dotýkají, by bylo možné určit, kde je fyzická poloha vnitřního prvku ve vztahu k vnějšímu. Tak informuje zařízení, kterým směrem uživatel stlačil korunku.
Měření se z velké části týká hodnot detekovaných kapacitními prvky na pevně zabudované struktuře, bez ohledu na orientaci druhé sekce z hlediska rotace. Je pravděpodobné, že by se mohla použít nějaká forma měření pro detekci toho, který prvek centrální části přichází do styku s vnější částí, a tak detekovat, jak se korunka otáčí v okamžiku kontaktu.
Apple navrhuje, že na rozdíl od existujícího uživatelského rozhraní Apple Watch, které nepoužívá kurzor, mohou existovat grafické prvky, které jsou manipulovány pomocí joysticku jako boční ovládání korunky, se svislými a vodorovnými pohyby, které se promítají do podobných úprav na obrazovce rozhraní.
Patent uvádí své vynálezce jako designéra produktů Apple Tylera S. Bushnella, konstruktéra hardwaru senzorů a integračního inženýra Collina R. Pettyho a inženýra designu produktů Adama T. Clavellea. Trio dříve spolupracovalo na podobném patentu, i když s mírně odlišným názvem „Capacitive gap sensor ring for an input device“, který je opět určený pro digitální korunku Apple Watch.
Na projektu pracují zkušení inženýři
Clavelle má také patentové přihlášky týkající se bezdrátových nabíjecích systémů v přenosných zařízeních, obrábění keramických komponent a „nositelné elektronické zařízení s elektrodami pro snímání biologických parametrů“, které všechny úzce souvisí s Apple Watch. Bushnellovo patentové přihlášky zahrnují "Snímání síly kontaktu vztahující se k uživateli, který nosí elektronické zařízení" a "Elektronické hodinky se skrytým senzorem pro detekci aplikované síly."
Společnost Apple podává každý týden četné patentové přihlášky, ale zatímco existence patentu naznačuje oblasti zájmu výzkumu a vývoje společnosti, nezaručuje existenci této funkce v budoucím produktu nebo službě.
Zdroj: Appleinsider
.png)
